안녕하세요 반디 엔지니어 fireflystory 입니다.
오늘은 세상을 바꿀 디스플레이, 삼성의 초격차를 실현할 것으로 기대되는 QNED 특허에 대해 알아보고자 합니다.
QNED는 제가 지난 2차례에 걸쳐 글을 작성했었고, 지금까지도 꾸준히 검색되고 있는 것을 보면, QNED에 대한 기대치가 정말 높다는 것을 실감하고 있습니다.
https://fireflystory.tistory.com/35?category=908254
대형 디스플레이의 미래는 Quantum Dot + LED? QNED가 옵니다.
안녕하세요 반디 엔지니어 fireflystory 입니다. 오늘 다뤄볼 주제는 Beyond OLED, 즉 현재 최강의 디스플레이로 군림하고 있는 OLED 그 이후의 패권을 노리는 "QNED"에 대한 것입니다. 삼성은 명실공히 세
fireflystory.tistory.com
https://fireflystory.tistory.com/3?category=908254
삼성 TV의 미래는 QD-OLED가 아니라 QNED이다?
삼성은 QD-LCD (QLED)의 뒤를 이어, 차세대 패널 기술 개발에 열을 올리고 있습니다. 이 중 가장 잘 알려진 것은 QD-OLED, 바로 삼성디스플레이가 기술력 확보를 위해 열을 올리고 있는 QD디스플레이죠
fireflystory.tistory.com
오늘은 추가적으로 대표적인 QNED 특허에 대해 알아보려고 합니다. 삼성은 19년말에 QNED 특허를 공개함으로써 차세대 디스플레이 후보군으로 QNED를 추진하고 있음을 공개적으로 알렸습니다.

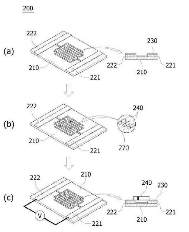
위의 도면과 같이 삼성은 QNED = LED 전극 어셈블리로 표현을 하고 있습니다. TFT Backplane 위에 방향성을 가진 LED 전극을 배치하고 그것을 광원으로 쓰는, 마치 Micro LED와 유사하지만 좀 더 양산성을 갖출 수 있는 디스플레이를 목표로 하고 있음을 알 수 있습니다.

청구항에서 LED 전극 어셈블리는 길쭉한 형태의 LED 전극 어셈블리임을 명시하고 있습니다. 긴 스틱 형태의 LED 전극이기 때문에 보통 사각형 형태의 Micro LED와는 전사 방법에서 차이가 있음을 알 수 있죠.

QNED 전극을 길쭉하게 만드는 이유는 TFT Backplane에 전기장을 걸었을 때, 자동으로 방향성을 갖추어 Align을 시키기 위함입니다. 잉크젯 공정으로 전극 어셈블리를 떨어뜨리고, 떨어지고 난 뒤 무질서하게 떨어진 형태에서 전극을 걸면 자동으로 + - 극성을 띠며 Align이 될 것입니다.

그리고 Align 된 전극 에셈블리 위에, Channel 층과 연결될 Source Drain 배선을 증착하여 연결시키고 패터닝을 통해 channel을 통해 들어오는 신호에 따라 발광을 할 수 있도록 하고, 그 위에 최종적으로 Passivation을 진행함으로써 보호를 통한 전극의 수명을 확보하는 작업을 진행하게 됩니다.

특허의 실제예를 보면 배선 위에 LED 전극 어셈블리를 배치하고 전극을 걸어줄 경우 일정한 방향을 갖추어 배열이 됨을 확인할 수 있습니다. 이 경우 Micro LED에 비해 전사 공정에서 훨씬 이점이 있고 비용을 감소할 수 있을 것입니다.

특허의 내용들을 이미지화하면 아래와 같은 개념이 됩니다. LED 전극 어셈블리를 inkjet 공정용 용액에 함유시켜 전극을 위치시킬 곳에 떨어뜨리고, 떨어진 전극을 방향을 갖추어 배열 및 Align시키면 발광 화소로서 역할을 하게 되는 것입니다.

국민대 도영락 교수님의 이 특허는 삼성디스플레이로 완전 이관이 되었는데요, 이 지식재산권에 대한 가치를 삼성은 무려 100억여원을 책정하여 보상했다고 합니다. 왠만한 중소기업 1년 영업이익을 능가하는 엄청난 돈을 투입한 삼성은 과연 어떤 초격차 디스플레이를 만들게 될지 기대가 됩니다 ^^
오늘의 블로그는 여기까지 입니다.
구독과 공감, 댓글은 제게 큰 힘이 됩니다 ^^
'디스플레이 > 차세대 디스플레이' 카테고리의 다른 글
| 미래의 디스플레이는 QD디스플레이, Quantum Dot이 이끌어갑니다. (11) | 2020.05.18 |
|---|---|
| 대형 디스플레이의 미래는 Quantum Dot + LED? QNED가 옵니다. (12) | 2020.05.09 |
| LED를 어디까지 작게 만들 수 있을까? Micro LED (6) | 2020.04.30 |
| 삼성 TV의 미래는 QD-OLED가 아니라 QNED이다? (0) | 2020.04.12 |
댓글